Samsung si prepara a entrare in una nuova era del design pieghevole con quello che sembra essere il suo primo dispositivo Trifold, e un nuovo brevetto trapelato rivela un’idea decisamente ingegnosa. Secondo le informazioni scoperte dal sito olandese GalaxyClub, la società avrebbe depositato un documento in cui descrive un sistema a tre batterie pensato per aumentare la capacità complessiva senza sacrificare la sottigliezza del dispositivo.
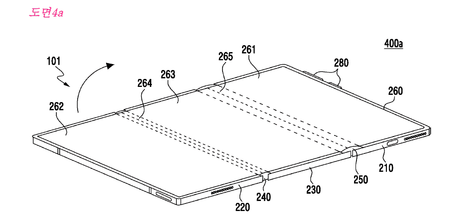
Il brevetto, pubblicato su Kipris, mostra uno schema dettagliato del presunto Galaxy Trifold, in cui ogni pannello contiene una porzione della batteria principale.
In base ai disegni tecnici, Samsung avrebbe suddiviso la capacità complessiva in tre moduli indipendenti identificati come T1, T2 e T3. Il primo, il più piccolo, si troverebbe nel pannello posteriore sotto il gruppo fotocamere, mentre il secondo, posizionato al centro, sarebbe il principale e garantirebbe la maggiore autonomia. Il terzo modulo, di dimensioni intermedie, troverebbe spazio dietro al display di copertura.


Questa configurazione permetterebbe di distribuire meglio il peso e di mantenere il profilo sottile, arrivando comunque a superare i 5000 mAh di capacità totale. Si tratterebbe di un’evoluzione rispetto all’attuale Galaxy Z Fold, che utilizza una batteria divisa in due sezioni.
Secondo le voci più recenti, il Galaxy Trifold potrebbe arrivare sul mercato entro fine anno insieme al visore XR di Samsung. Si parla di un telaio in titanio, di un design con cerniera a U pensato per garantire maggiore resistenza e di specifiche da vero top di gamma, tra cui 16 GB di RAM e funzionalità avanzate per il multitasking.
Le animazioni trovate nelle build interne della One UI mostrano un dispositivo capace di gestire più app contemporaneamente in modo fluido, pensato sia per la produttività che per l’intrattenimento. Tutto lascia pensare che il debutto del Galaxy Trifold segnerà l’inizio di una nuova categoria di smartphone premium, dove innovazione e praticità si incontrano in un equilibrio mai visto prima.


