Finalmente arriva la fine del notch?

Finalmente arriva la fine del notch?

Sembra che Apple stia finalmente pensando di abbandonare il tanto discusso “notch”, l’iconica tacca nera che ospita fotocamera e sensori nella parte superiore dello schermo degli iPhone.

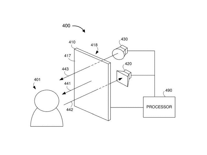
Un nuovo brevetto depositato dall’azienda di Cupertino svela infatti un metodo per integrare le fotocamere direttamente sotto il display, eliminando così la necessità del notch e aprendo la strada a un design a tutto schermo.

Il brevetto descrive l’utilizzo di un filtro passa-banda in grado di isolare specifiche lunghezze d’onda della luce. In pratica, questo filtro permetterebbe di far passare solo le lunghezze d’onda necessarie quando si utilizza la fotocamera frontale per i selfie, mentre per il Face ID, il sistema di riconoscimento facciale, verrebbero lasciate passare le lunghezze d’onda dell’infrarosso.

Resta da vedere se Apple riuscirà a realizzare un display che mantenga una qualità visiva uniforme su tutta la superficie, e se le fotocamere sotto il display saranno in grado di offrire prestazioni all’altezza degli standard a cui l’azienda ci ha abituati.

I rumor anticipano che l’iPhone 18 potrebbe essere il primo modello a implementare questa tecnologia, ma al momento si tratta solo di speculazioni. Apple è nota per prendersi il suo tempo per perfezionare le nuove tecnologie, quindi è improbabile che vedremo un iPhone con una fotocamera sotto il display poco performante.

+1
0
+1
0
+1
0
+1
0
+1
0
+1
0
+1
0